Stromversorgung
Festplatte
|
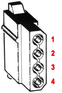
Nr.
|
Belegung
|
|
1
|
+ 12 Volt
|
|
2
|
Masse
|
|
3
|
Masse
|
|
4
|
+ 5 Volt
|